Thread Specifications of Cable Glands
Tapered Cable Gland
- IEC 60079-14 Ed. 4.0 - Section 9.3.10
- Connections of Cables to Equipment.
- Cable glands with tapered threads shall not be used in enclosures having gland plates with unthreaded entries.

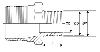
Cylindrical Cable Gland

| ISO 262 | |||||||
| THREAD | PITCH |
THREAD
PER INCH |
L ≥ | ∅B | ∅D | ∅P MAX | CODE |
| M 12 x | 1,5 | 16,93 | 15 | 7 | 12 | 12,5 | 112 |
| M 16 x | 1,5 | 16,93 | 15 | 11 | 16 | 16,5 | 116 |
| M 20 x | 1,5 | 16,93 | 15 | 15 | 20 | 20,5 | I20 |
| M 25 x | 1,5 | 16,93 | 15 | 19 | 25 | 25,5 | I25 |
| M 32 x | 1,5 | 16,93 | 15 | 25 | 32 | 32,5 | I32 |
| M 40 x | 1,5 | 16,93 | 15 | 35 | 40 | 40,5 | I40 |
| M 50 x | 1,5 | 16,93 | 15 | 44 | 50 | 50,5 | I50 |
| M 63 x | 1,5 | 16,93 | 15 | 57 | 63 | 63,5 | I63 |
| M 75 x | 1,5 | 16,93 | 15 | 68 | 75 | 75,5 | I75 |
| M 90 x | 2 | 12,70 | 20 | 82 | 90 | 90,5 | I90 |
| M 100 x | 2 | 12,70 | 20 | 91 | 100 | 100,5 | 1100 |
| NPT | |||||||
| THREAD | PITCH |
THREAD
PER INCH |
L ≥ | ∅B | ∅D | ∅P MAX | CODE |
| 1/4" | 1,411 | 18 | 15 | 8 | 13,72 | 14,2 | N12 |
| 3/8" | 1,411 | 18 | 15 | 11 | 17,15 | 17,6 | N16 |
| 1/2" | 1,81 | 14 | 18 | 15 | 21,34 | 21,8 | N20 |
| 3/4" | 1,81 | 14 | 18 | 19 | 26,67 | 27,2 | N25 |
| 1" | 2,20 | 11,5 | 22 | 25 | 33,4 | 33,9 | N32 |
| 1"1/4 | 2,20 | 11,5 | 22 | 31 | 42,16 | 42,7 | N40 |
| 1 "1/2 | 2,20 | 11,5 | 24 | 37 | 48,26 | 48,8 | N50 |
| 2" | 2,20 | 11,5 | 24 | 47 | 60,33 | 60,8 | N63 |
| 2" 1/2 | 3,18 | 8 | 28 | 57 | 73,03 | 73,5 | N75 |
| 3" | 3,18 | 8 | 28 | 68 | 88,9 | 89,4 | N90 |
| 3" 1/2 | 3,18 | 8 | 43 | 90 | 101,6 | 102,1 | N100 |
| ISO 228 | |||||||
| THREAD | PITCH |
THREAD
PER INCH |
L≥ | ∅ B | ∅ D | ∅ P MAX | CODE |
| 1/4" | 1,34 | 19 | 15 | 8 | 13,16 | 13,7 | B12 |
| 3/8" | 1,34 | 19 | 15 | 11 | 16,66 | 17,2 | B16 |
| 1/2" | 1,81 | 14 | 15 | 15 | 20,96 | 21,5 | B20 |
| 3/4" | 1,81 | 14 | 15 | 19 | 26,44 | 26,9 | B25 |
| 1" | 2,31 | 11 | 16 | 25 | 33,25 | 33,7 | B32 |
| 1"1/4 | 2,31 | 11 | 17 | 31 | 41,91 | 42,4 | B40 |
| 1"1/2 | 2,31 | 11 | 17 | 37 | 47,80 | 48,3 | B50 |
| 2" | 2,31 | 11 | 18 | 47 | 59,61 | 60,1 | B63 |
| 2" 1/2 | 2,31 | 11 | 20 | 57 | 75,18 | 75,7 | B75 |
| 3" | 2,31 | 11 | 20 | 68 | 87,88 | 88,4 | B90 |
| 3" 1/2 | 2,31 | 11 | 20 | 90 | 100,3 | 100,8 | B100 |
| EN 10226 | |||||||
| THREAD | PITCH |
THREAD
PER INCH |
L ≥ | ∅B | ∅D | ∅P MAX | CODE |
| 1/4" | 1,337 | 19 | 15 | 8 | 13,15 | 13,7 | R12 |
| 3/8" | 1,337 | 19 | 15 | 11 | 16,66 | 17,2 | R16 |
| 1/2" | 1,814 | 14 | 18 | 15 | 20,95 | 21,5 | R20 |
| 3/4" | 1,814 | 14 | 18 | 19 | 26,44 | 26,9 | R25 |
| 1" | 2,309 | 11 | 23 | 25 | 33,24 | 33,7 | R32 |
| 1"1/4 | 2,309 | 11 | 23 | 31 | 41,91 | 42,4 | R40 |
| 1"1/2 | 2,309 | 11 | 24 | 37 | 47,80 | 48,3 | R50 |
| 2" | 2,309 | 11 | 24 | 47 | 59,61 | 60,1 | R63 |
| 2" 1/2 | 2,309 | 11 | 28 | 57 | 75,18 | 75,7 | R75 |
| 3" | 2,309 | 11 | 28 | 68 | 87,88 | 88,4 | R90 |
| DIN 40430 | |||||||
| THREAD | PITCH |
THREAD
PER INCH |
L ≥ | ∅B | ∅D | ∅P MAX | CODE |
| Pg 7 | 1,27 | 20 | 15 | 8 | 12,5 | 13,0 | P12 |
| Pg 9 | 1,41 | 18 | 15 | 11 | 15,2 | 15,7 | P16 |
| Pg 11 | 1,41 | 18 | 15 | 15 | 18,6 | 19,1 | P20 |
| Pg 13,5 | 1,41 | 18 | 15 | 14 | 20,4 | 20,9 | P25 |
| Pg 16 | 1,41 | 18 | 15 | 19 | 22,5 | 23,0 | P32 |
| Pg 21 | 1,59 | 16 | 15 | 22 | 28,3 | 28,8 | P40 |
| Pg 29 | 1,59 | 16 | 17 | 31 | 37,0 | 37,5 | P50 |
| Pg 36 | 1,59 | 16 | 17 | 37 | 47,0 | 47,5 | P63 |
| Pg 42 | 1,59 | 16 | 18 | 47 | 54 | 54,50 | P75 |
| Pg 48 | 1,59 | 16 | 18 | 54 | 59,3 | 59,80 | P90 |
